ISW卧式管道泵概述
ISW型卧式管道泵,采用IS型离心泵之性能参数,在一般卧式泵的基础上进行巧妙组合设计而成,同时根据使用温度、介质等不同在ALG型基础上派生出适用热水、高温耐腐蚀化工泵、油泵。该系列卧式管道泵产品具有高效节能、噪音低、性能可靠等优点,符合新国家机械部JB/T53058-93的标准要求,产品按国际ISO2858标准设计制造。
卧式管道泵特点
运行平稳:泵轴的绝对同心度及叶轮优异的动静平衡,保证平稳运行,绝无振动。
滴水不漏:不同材质的硬质合金密封,保证了不同介质输送均无泄漏。
噪音低:两个低噪音轴承支撑下的水泵,运转平稳,除电机微弱声响,基本无噪音。
故障率低:结构简单合理,关键部分采用高品质配套,整机无故障工作时间大大提高。
维修方便:更换密封、轴承,简易方便。
占地更省:出口可向左、向右、向上三个方向,便于管道布置安装,节省空间。
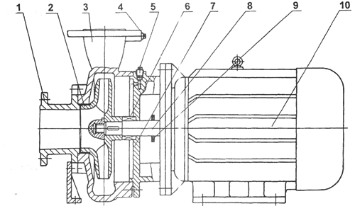
卧式管道泵结构图:
|
|
1 |
吸入室:采用优改良力模型设计而成。 |
|
2 |
叶 轮:采用改良水力模型设计而成,高效节能。 |
|
|
3 |
泵 体:采用改良水力模型设计而成。 |
|
|
4 |
取压塞:安装压力表及真空表,以监控泵的正常高效运行。 |
|
|
5 |
放气塞:确保泵的正常维护。 |
|
|
6 |
机械密封:采用不锈钢、硬质合金、氟橡胶等材料制成,耐用消费品磨损,无泄漏,运行寿命长。 |
|
|
7 |
泵 盖: |
|
|
8 |
泵 轴:为电机加长轴,确保了轴的同心,使运行平稳,无噪音和振动现象。 |
|
|
9 |
挡水圈:防止因密封漏水而使电机进水。 |
|
|
10 |
Y系列电动机:直接与水泵联接传递动力 |
ISW卧式管道离心泵性能参数:
(1)ISW卧式离心泵,供输送清水及物理化学性质类似于清水的其他液体之用,适用于工业和城市给排水、高层建筑增压送水、园林喷灌、消防增压、远距离输送、暖通制冷循环、浴室等冷暖水循环增压及设备配套,使用温度≤80℃。(2)ISWR卧式热水泵广泛适用于冶金、化工、纺织、造纸以及宾管、饭店等锅炉热水循环增压及城市采暖系统。ISW型使用温度T≤120℃。(3)ISWH卧式化工泵,供输送不含固体颗粒、具有腐蚀性、粘度类似于水液体,适用于石油、化工、冶金、电力、造纸、食品、制药及合成纤维等部门,使用温为-20-120℃。(4)ISWB卧式管道油泵,供输送油、煤油、柴油等油类产品或燃、易爆液体,被输送介质温度-20-120℃。


点击图片放大
© 2023 上海浙瓯泵阀制造有限公司 版权所有